Werkstoff: Grauguss EN-GJL-250, phosphatiert.
Keilriemenscheiben für Taper-Spannbuchsen, zur schnellen und einfachen Montage. Die Taper-Spannbuchse muss separat bestellt werden. In Anlehnung an DIN 2211 bzw. DIN 2217 bzw. ISO 4183, zur Verwendung mit klassischen Keilriemen DIN 2215 und Schmalkeilriemen DIN 7753-1 / ISO 4184. Auch verwendbar für Keilriemen 5V/15N nach ARPM/MPTA. Der Nenndurchmesser D1 ist der Wirkdurchmesser.

Service:

Katalogseite

Zusätzliche Informationen

Montageanleitung



Die angebotenen CAD-Daten, Abbildungen und technischen Zeichnungen werden mit größtmöglicher Sorgfalt erstellt.
Dennoch kann keine Gewährleistung für die Fehlerfreiheit und Genauigkeit dieser Daten übernommen werden.

( freibleibend aus Lagervorrat / kurzfristig lieferbar / Lieferzeit nach Vereinbarung. Bitte fragen Sie nach. )
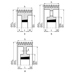
Artikel Menge Rillen-AnzahlNenn-Ø D1
[mm]
Ø DA
[mm]
AusführungTaper-Buchse
[Nr.]
Bohrung
[mm]
E
[mm]
h
[mm]
J
[mm]
K
[mm]
L
[mm]
M
[mm]
N
[mm]
Gewicht ca.
[kg]
151-B-8-140
814014732517 15 - 65 -1589756,54556,5-6,5
151-B-8-160
816016733020 20 - 75 -15811753,55153,5-7,0
151-B-8-170
817017733030 30 - 75 -158127417641-10,2
151-B-8-180
818018733030 30 - 75 -158137417641-11,4
151-B-8-190
819019733030 30 - 75 -158147417641-13,0
151-B-8-200
820020733535 30 - 90 -15815734,58934,5-14,0
151-B-8-212
821221933535 30 - 90 -15816934,58934,5-17,1
151-B-8-224
822423133535 30 - 90 -15818134,58934,5-17,0
151-B-8-236
823624333535 30 - 90 -15819334,58934,5-23,0
151-B-8-250
825025733535 30 - 90 -15820734,58934,5-26,2
151-B-8-280
828028763535 30 - 90 2515823734,58934,517526,0
151-B-8-300
830030763535 30 - 90 2515825734,58934,517528,5
151-B-8-315
831532263535 30 - 90 2515827234,58934,517530,0
151-B-8-335
833534263535 30 - 90 2515829234,58934,517533,0
151-B-8-355
835536263535 30 - 90 2515831234,58934,517534,5
151-B-8-400
840040764040 40 - 100 30158357281022821049,5
151-B-8-450
845045754040 40 - 100 -158407281022821047,5
151-B-8-500
850050754040 40 - 100 -158457281022821054,3
151-B-8-560
856056754545 55 - 110 -158517221142224274,5
151-B-8-630
863063754545 55 - 110 -158587221142224280,0
151-B-8-710
871071754545 55 - 110 -1586642211422242103,0
151-B-8-800
880080754545 55 - 110 -1587542211422242117,5
151-B-8-900
890090754545 55 - 110 -1588542211422242120,5
151-B-8-1000
81000100755050 70 - 125 -15895415,512715,5267160,0
151-B-8-1250
81250125755050 70 - 125 -158120415,512715,5267230,0


zur Gruppe


Impressum AGB Hilfe Datenschutzerklärung Index


MÄDLER on Facebook Facebook MÄDLER on Youtube YouTube MÄDLER on Twitter Twitter MÄDLER on Instagram Instagram MÄDLER on Xingk Xing MÄDLER on Linkedin LinkedIn