Werkstoff: Grauguss EN-GJL-250, phosphatiert.
Keilriemenscheiben für Taper-Spannbuchsen, zur schnellen und einfachen Montage. Die Taper-Spannbuchse muss separat bestellt werden. In Anlehnung an DIN 2211 bzw. DIN 2217 bzw. ISO 4183, zur Verwendung mit klassischen Keilriemen DIN 2215 und Schmalkeilriemen DIN 7753-1 / ISO 4184. Auch verwendbar für Keilriemen 3V/9N nach ARPM/MPTA. Der Nenndurchmesser D1 ist der Wirkdurchmesser.

Service:

Katalogseite

Zusätzliche Informationen

Montageanleitung



Die angebotenen CAD-Daten, Abbildungen und technischen Zeichnungen werden mit größtmöglicher Sorgfalt erstellt.
Dennoch kann keine Gewährleistung für die Fehlerfreiheit und Genauigkeit dieser Daten übernommen werden.

( freibleibend aus Lagervorrat / kurzfristig lieferbar / Lieferzeit nach Vereinbarung. Bitte fragen Sie nach. )
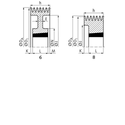
Artikel Menge Rillen-AnzahlNenn-Ø D1
[mm]
Ø DA
[mm]
AusführungTaper-Buchse
[Nr.]
Bohrung
[mm]
E
[mm]
h
[mm]
J
[mm]
K
[mm]
L
[mm]
M
[mm]
N
[mm]
Gewicht ca.
[kg]
151-Z-6-90
6909481610 12 - 42 -76615125--1,50
151-Z-6-95
6959981610 12 - 42 -76665125--1,70
151-Z-6-100
610010482012 12 - 50 -76714432--1,60
151-Z-6-106
610611082012 12 - 50 -76764432--2,00
151-Z-6-112
611211682012 12 - 50 -76834432--2,30
151-Z-6-118
611812282517 15 - 65 -76903145--2,25
151-Z-6-125
612512982517 15 - 65 -76963145--2,50
151-Z-6-132
613213682517 15 - 65 -761033145--2,00
151-Z-6-140
614014422517 15 - 65 -76111-4531-3,50
151-Z-6-150
615015422517 15 - 65 -76121-4531-2,55
151-Z-6-160
616016422517 15 - 65 -76131-4531-5,00
151-Z-6-170
617017422517 15 - 65 -76141-4531-6,30
151-Z-6-180
618018432517 15 - 65 -7615115,54515,5-7,38
151-Z-6-190
619019432517 15 - 65 -7616115,54515,51248,20
151-Z-6-200
620020432517 15 - 65 -7617115,54515,51249,00
151-Z-6-224
622422862517 15 - 65 267619515,54515,51249,60
151-Z-6-250
625025462517 15 - 65 267622115,54515,512410,0
151-Z-6-280
628028462517 15 - 65 157625115,54515,512410,2
151-Z-6-315
631531962517 15 - 65 157628615,54515,512413,5
151-Z-6-355
635535952517 15 - 65 -7632615,54515,512416,3
151-Z-6-400
640040453030 30 - 75 -76371-76-14618,7
151-Z-6-450
645045453030 30 - 75 -76421-76-14622,5
151-Z-6-500
650050453030 30 - 75 -76471-76-14622,5
151-Z-6-630
663063443535 30 - 90 -766016,5896,517536,0
151-Z-6-800
680080443535 30 - 90 -767716,5896,517847,5


zur Gruppe


Impressum AGB Hilfe Datenschutzerklärung Index


MÄDLER on Facebook Facebook MÄDLER on Youtube YouTube MÄDLER on Twitter Twitter MÄDLER on Instagram Instagram MÄDLER on Xingk Xing MÄDLER on Linkedin LinkedIn